Tesla has just secured a U.S. patent (US12420879B1) for a breakthrough manufacturing system that promises to make building cars faster, cheaper, and more precise. The process, called True Unboxed Process 2.0, is expected to play a big role in producing Tesla’s dedicated robotaxi – Cybercab.
Traditionally, cars are built piece by piece, with each panel attached to the one before it using clips, bolts, and brackets. The problem is that small errors at the start can grow into big alignment issues later on — leading to uneven panel gaps or extra rework.
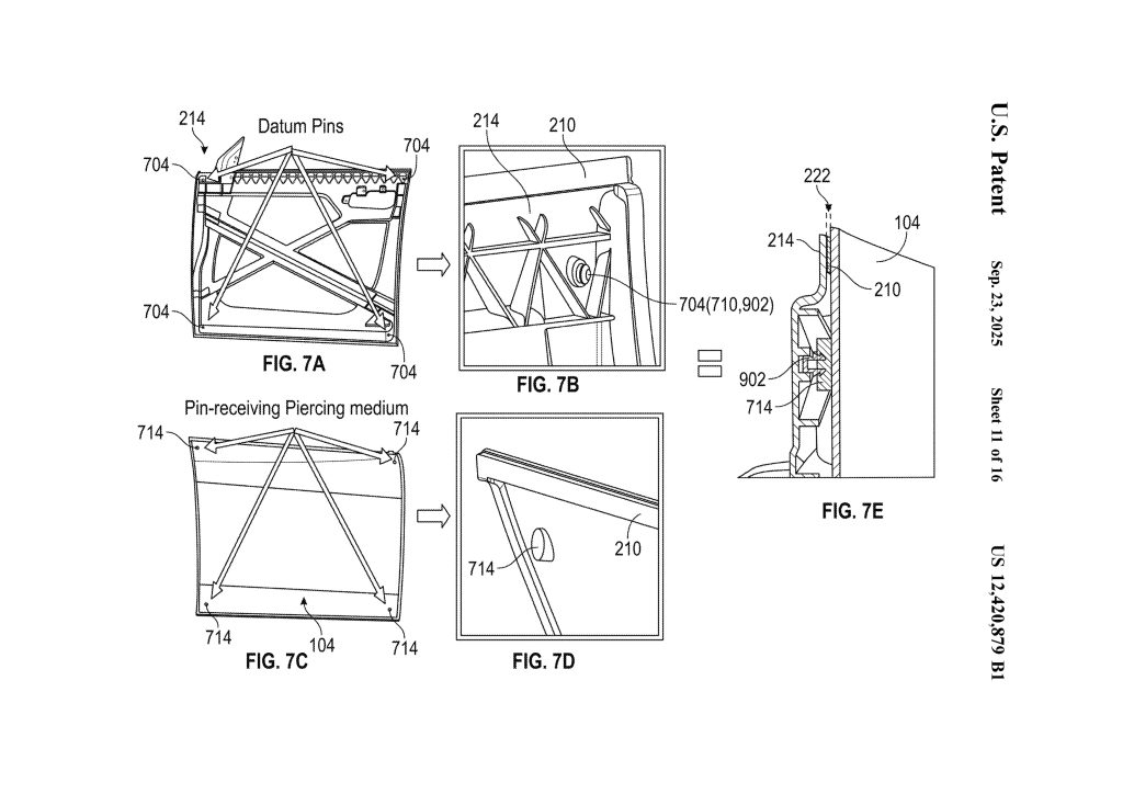
Tesla’s new method outlined in the patent, first reported by X user @seti_park, changes the rules by introducing what it calls a “global datum.” In simple terms, it’s like a master reference point — the automotive equivalent of a laser level that ensures everything lines up perfectly. Instead of lining up panels with each other, every part references this single point. That way, mistakes don’t “stack up” as the car is assembled.

The system also uses a new approach to fastening. Instead of relying on dozens of clips and screws, Tesla is turning to a super-strong industrial adhesive. Robots apply the adhesive, then press the parts into place with extreme accuracy.
The adhesive can fill in tiny gaps and even handle the way different materials expand or contract with heat. The result is smoother fits and stronger bonds.

One challenge with adhesives is that they take time to cure. To keep the line moving, Tesla has designed a way to temporarily “tack” panels into place while the glue sets. This means cars can keep moving down the line instead of sitting still while the glue hardens, dramatically speeding up production.
According to the patent, Tesla’s new system could cut the number of fastening parts by 65%, simplify operations, and reduce costs — with the adhesive for each car adding up to only about US$25. Less hardware means fewer things to go wrong, and automation makes the process less dependent on human labour.

While Tesla has only just secured the patent this week, the company has obviously been working to develop the new system. According to Giga Texas drone pilot Joe Tegtmeyer, the actual production line using this new process is nearly ready to begin operations at Tesla’s Austin factory. Tegtmeyer suggested the public may get its first look at the line sometime in early 2026.
Some of these parts ready for installation inside Giga Texas look similar to the patent in age of the assembly process pic.twitter.com/ayRFKRYr6x
— Joe Tegtmeyer (@JoeTegtmeyer) September 23, 2025

