In an exciting patent, Rivian looks to be combining the use of a drone and a Rivian vehicle to work through unknown off-road terrain.
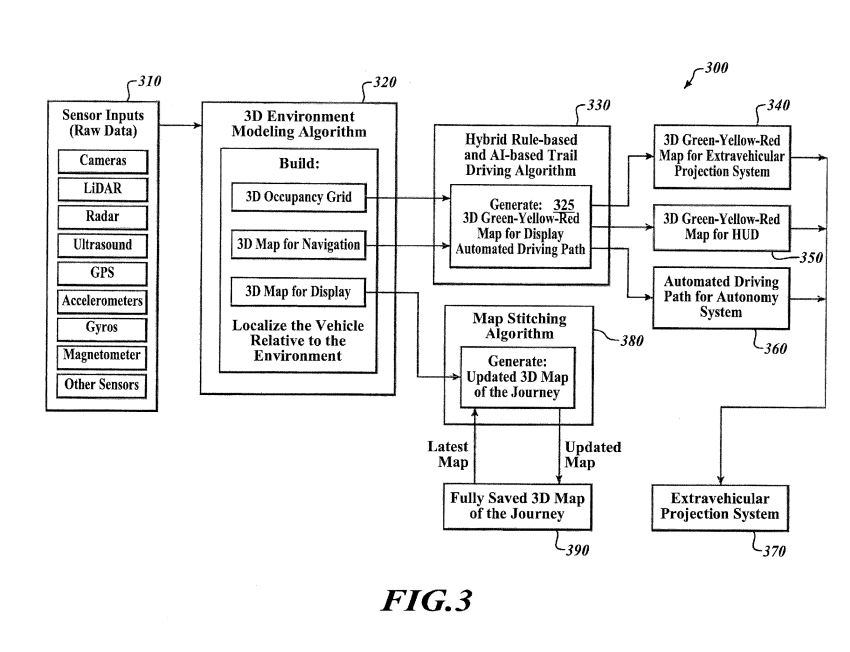
The patent includes at least one sensor to detect terrain and objects near the vehicle. In addition, it also has at least one sensor to determine the navigation path for the vehicle to follow.
The system also includes a projection system on the vehicle to project light to help determine the navigation path.
As per the patent, here is the proposed system:
Here are some of the figures that go along with the patent application.
The drawings show that the system will combine the systems on the Rivian vehicle and data and sensor readings from a drone.
The 3D map looks to be able to be updated in real-time and provide an illuminated path for the Rivian vehicle to follow.
It is not clear if the drone is a Rivian or Rivian partner’s drone or a users could use a third-party drone.
This is, least to say, an interesting patent, and we have no clue what Rivian is thinking in terms of next-generation technology to marry into their existing system.
However, Rivian is looking to be the go-to off-roading EV brand so it makes sense the company is looking at new innovative ways to off-road and enjoy the wild through tech.
Always get the latest - make Drive Tesla your preferred source on Google
Are you buying a Tesla? If you enjoy our content and we helped in your decision, use our referral link to get three months of Full Self-Driving (FSD).



