Even though BMW is still far behind Tesla when it comes to the development of autonomous driving systems, the German automaker recently filed an international patent application (PCT) for a shape-shifting steering wheel.
The idea behind the foldable steering wheel is that it can take up less space when the vehicle is being driven autonomously, by changing from a circular shape to an oval-type shape.
A study conducted in 2017 by Stanford researchers on the safety of autonomous vehicles used several different steering wheels, including one that had LED lights and another that could transform its shape, on study participants inside a driving simulator. Here is a description of the study:
“Participants are asked to enable the automated driving mode. The automation then drives for 10 minutes in a second section, mainly on straight road. At the beginning of the last section, the car approaches the critical event, a curve without lane markings, designed to appear as though road construction is in progress. Full control of the car is returned to participants a few seconds (2 or 5 seconds) before entering this critical event. That is, control of the car is instantly returned to the participants in the drive mode, with the steering wheel centered, and with no additional input by the car to the brake or throttle.”
Related: BMW unveils concept i4 electric sedan to rival the Tesla Model 3
The results showed that even though the transforming steering wheel took several seconds to change its shape, drivers with this steering wheel performed better than drivers with the other steering wheels, even the ones with just LED lights that acted as a warning.
Tesla also recently filed a patent application for a new steering wheel of their own. The futuristic steering featured multiple touchscreen controls and would have haptic feedback as well.
Here is the full description from the abstract of the patent application:
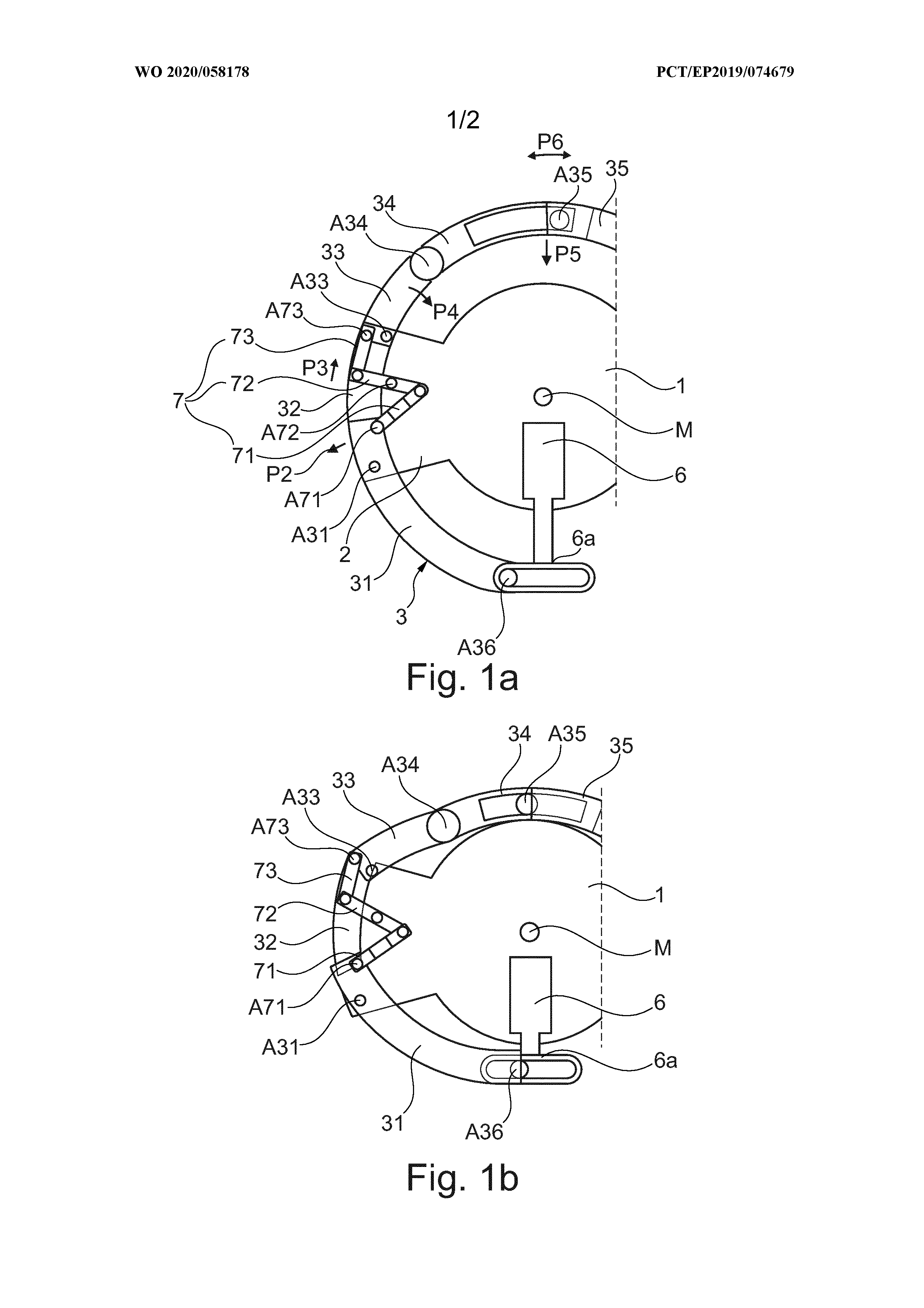
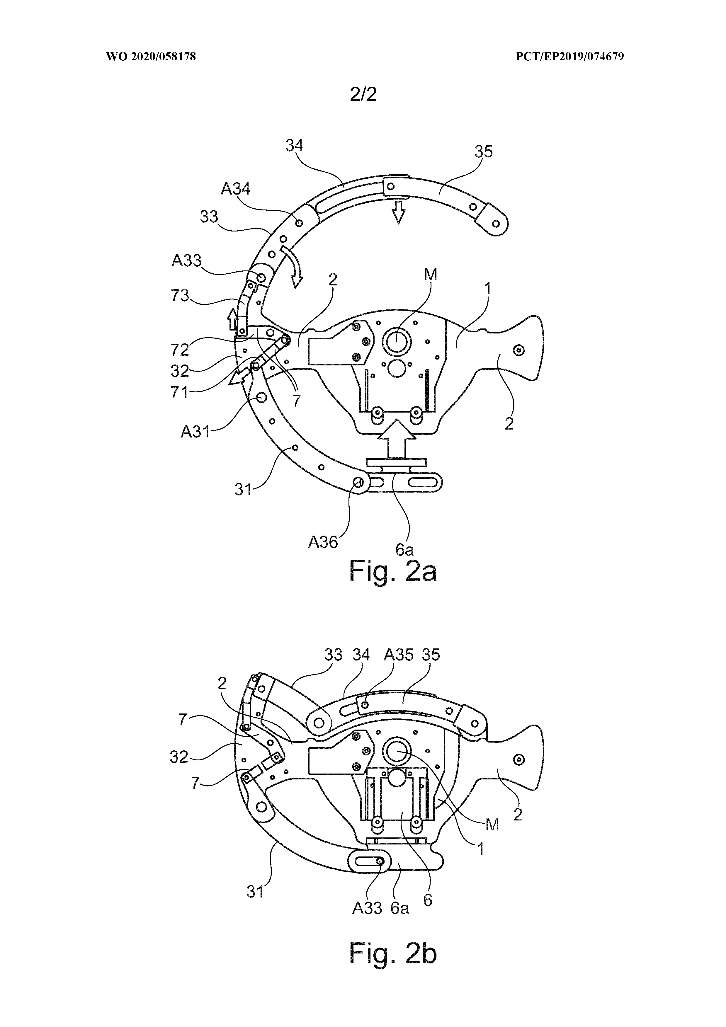
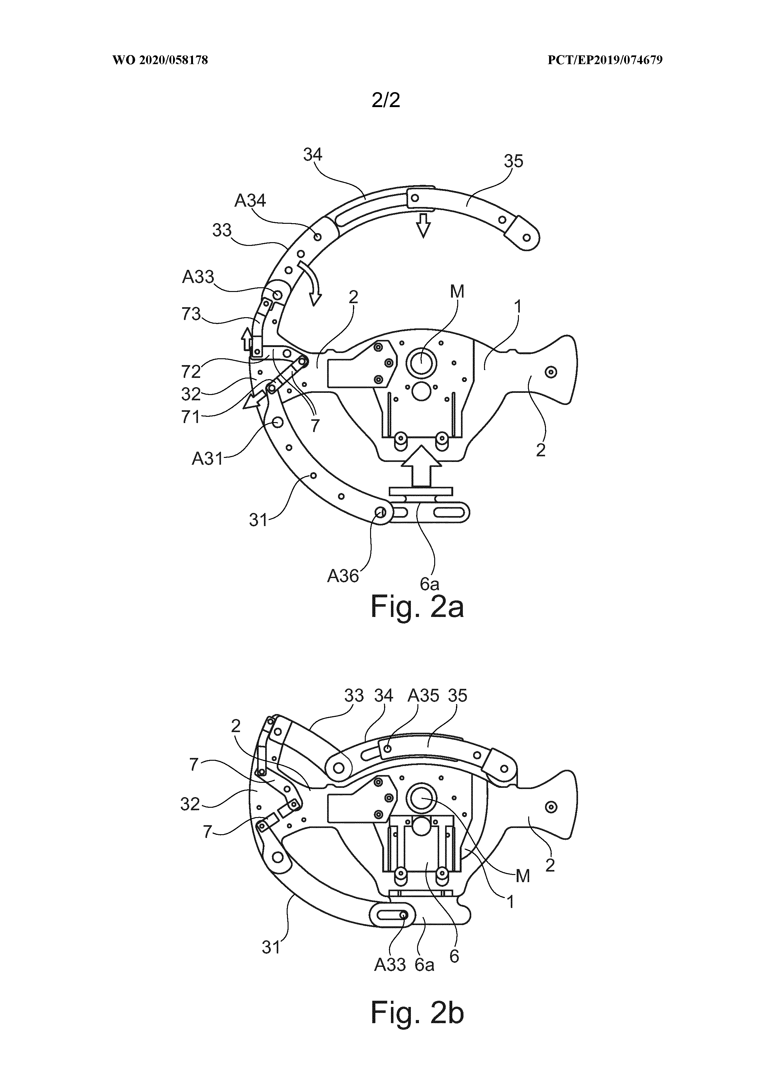
The invention relates to a changeable-shape steering wheel of a motor vehicle, the steering wheel rim of which is composed of a plurality of rim parts, of which some can be pivoted relative to one another, in order for it to be possible, in addition to a circular shape, for it to also be transferred into an approximately oval shape, wherein, in a neutral position of the steering wheel which can be rotated about a circular shape centre point, the major semi-axis in an oval shape is oriented at least substantially horizontally. Here, the rim parts can be moved by means of levers which are provided on the steering wheel rim, in such a way that, in the neutral position, the major semi-axis of the oval shape of the steering wheel is not longer than half the diameter in the case of a circular shape of the steering wheel. In the neutral position, central rim side parts are preferably connected rigidly to a central steering wheel pot-shaped structure, whereas a single actuator which brings about a shape change can pivot, and pivot back, the lower rim side parts in the neutral position of the steering wheel in the direction of the circular shape centre point in the case of the transition from the circular shape to the oval shape.
h/t [BMW X2 Forum]
Always get the latest - make Drive Tesla your preferred source on Google
Are you buying a Tesla? If you enjoy our content and we helped in your decision, use our referral link to get three months of Full Self-Driving (FSD).


