Rivian Could Soon Add a Mobile Movie Projector for R1T Gear Tunnel

Rivian is exploring a unique addition to its R1T model – a mobile movie projector designed for the Gear Tunnel. Recently discovered at the United States Patent and Trademark Office (USPTO) by CarBuzz, this potential tech addition suggests that Rivian is looking to enhance the outdoor experience for its users.

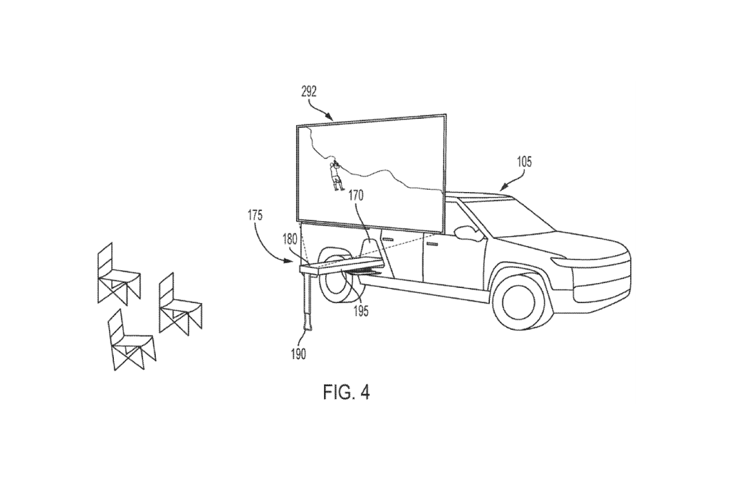
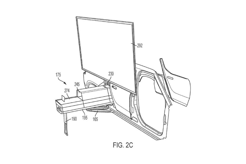
The Gear Tunnel, a telescopic slide-out drawer located behind and beneath the passenger cabin, has previously accommodated accessories like the Camp Kitchen. Now, Rivian seems poised to introduce a movie projector system, turning the R1T into a mobile cinema. The proposed setup includes wireless speakers, a roll-up projector screen, a projector, and a mirror for adjusting the projected image. The speakers can be removed for a surround-sound experience, and the entire system is designed to be portable.

Credit: USPTO

The electric truck’s Gear Tunnel is envisioned as the storage space for all the necessary components, with easy setup facilitated by actuators. While the patent allows for manual assembly, the automated system ensures a hassle-free experience for users. Rivian’s focus on luxury adventure is evident, providing amenities like an outdoor cinema for off-road trail enthusiasts.

Credit: USPTO

Beyond leisure, Rivian recognizes potential applications for this technology in search and rescue missions. The back of the R1T could serve as a coordination point, saving crucial time during critical operations. The patent details measurements and connections, hinting at a production-ready design. If all goes according to plan, this movie projector system could become available as early as next year, offering a unique and versatile feature for Rivian’s electric truck users.

However, that could be delayed, or it could never come to market, as the Camp Kitchen and Gear Tunnel Shuttle are still waiting to be released after it was announced they are being redesigned.

Credit: USPTO
Set Drive Tesla Canada as your preferred source

Always get the latest - make Drive Tesla your preferred source on Google


Are you buying a Tesla? If you enjoy our content and we helped in your decision, use our referral link to get three months of Full Self-Driving (FSD).
Previous Article

Elon Musk and Israel reach “significant agreement” on Starlink use in Gaza

Next Article

Canada reaches 2000 Supercharger stalls with opening of Mississauga Supercharger

You might be interested in …