We still have a few more years to wait until we see our first electric Ferrari on the streets. Last month, Ferrari Chief Executive Louis Camilleri revealed Ferrari had delayed plans for electrification until at least 2025.
Now the first details of what the first electric Ferrari might have ‘under the hood’ have been revealed after a member of the Taycan EV Forum found a new patent filing from the Maranello automaker.
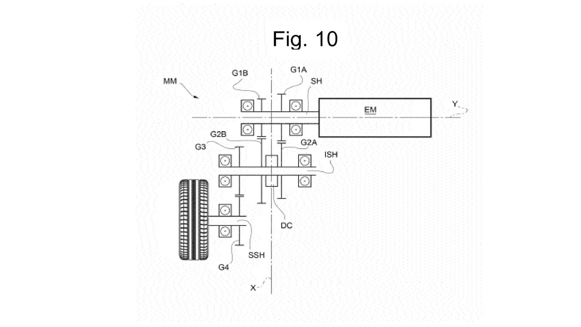
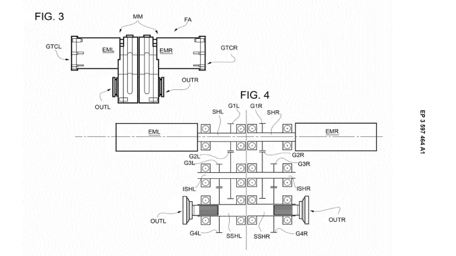
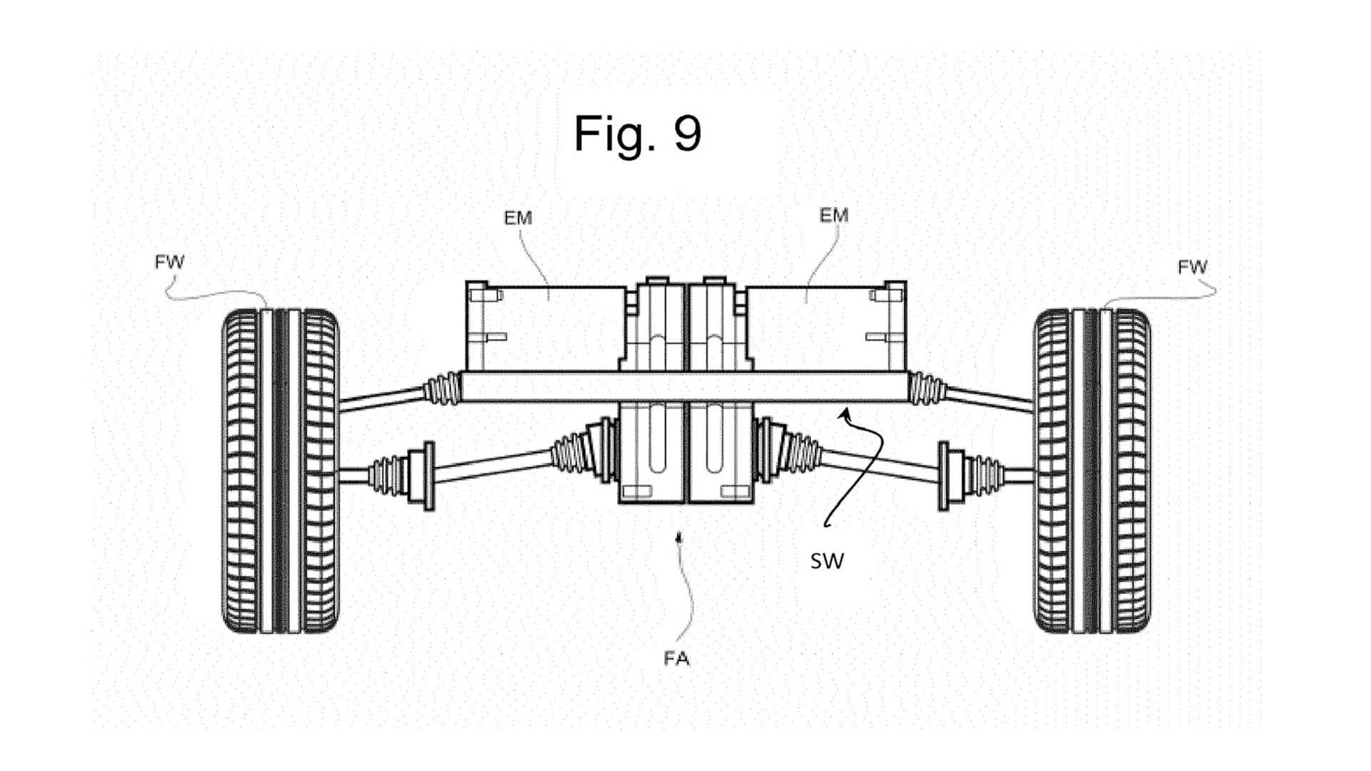
As expected, we can tell from the picture above and the detailed patent filing the Ferrari EV will be a two seater and have four motors, one for each wheel. The patent goes on to describe the setup:
“an electrically powered road vehicle comprising four drive wheels and four reversible electric machines, each of which is mechanically entirely independent of the other electric machines and has a shaft directly connected to a corresponding drive wheel.“
Another interesting detail from the patent filing is that the Ferrari EV might not be solely an EV, and may also come in a hybrid form with an internal combustion engine. As described in the patent:
“When the car is electric, a battery pack BAY is house in the clearance area CL confined by the rear axle, while when the car is not (fully) electric, an interanl combustion engine CE is housed therein.“
It goes on further to explain in the hybrid form the internal combustion engine would power the rear wheels only.
“When the car is of the hybrid type there is an internal combustion engine CE in the free area CL equipped with its own gearbox and two opposite output shafts, intended to driver the rear wheels RW of the car in rotation.“
The patent also shows that Ferrari might not be ‘all-in’ towards electrification, as the “preferred variant of the car” has a front electric axle, and a rear axle powered by the combustion engine.
More details can be found in the full patent submission below.
Always get the latest - make Drive Tesla your preferred source on Google
Are you buying a Tesla? If you enjoy our content and we helped in your decision, use our referral link to get three months of Full Self-Driving (FSD).












