The US Patent and Trademark Office (USPTO) has granted Apple a patent for an automated electric vehicle (EV) charging station.
The patent, awarded to the tech giant on May 10, 2022 explains how the charging station would allow EVs to charge up without a human operator. The systems and methods described in the patent enable an EV to connect to the charger without a manual connection by the driver.
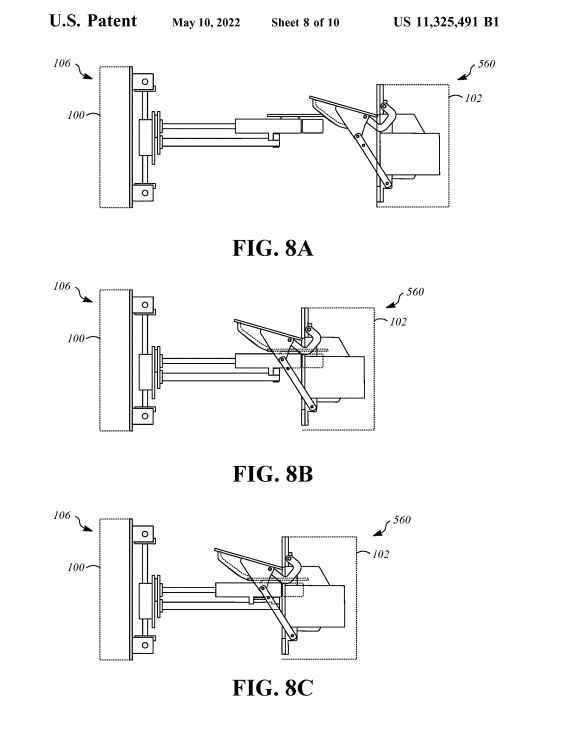
By the figures in the patent, it looks like the stages change position upon contact with a structure on the vehicle. This would then allow the charging receptible and charging plug to be aligned and connect without the need of a human or anything else to connect.

That same system would then allow the EV to disconnect with ease.

The listed investors are Matthew M Torok, Foster D Collins and William M Price.
This is Apple’s second granted patent for this invention, according to Patently Apple. Along with this patent, Apple also added 20 new patent claims to protect the technology better.
To date, Apple has added 124 patents around their electric vehicle, referred to internally as Project Titan, relating to future features and systems. This includes autonomous and semi-autonomous vehicles.
Although this patent is some good news, we have not heard much from Cupertino in terms of movement on Project Titan. While there has been no official comments on the Apple Car, there has been a lot of personnel changes for those working on the project.
The project’s entire executive team from 2021 is no longer with the company, having also lost several key engineers during that time. The tech-giant has also been able to recruit some big names, most recently hiring a 31-year veteran from Ford, Desi Ujkashevic.
You can read the full patent below.
apple ev charging station patent