Rivian has filed a patent application for an innovative in-bed storage system for its electric truck. The patent application, published by the United States Patent and Trademark Office (USPTO) on April 6th, details storage bins built into the sides of a pickup truck’s bed. (via Motor Authority)
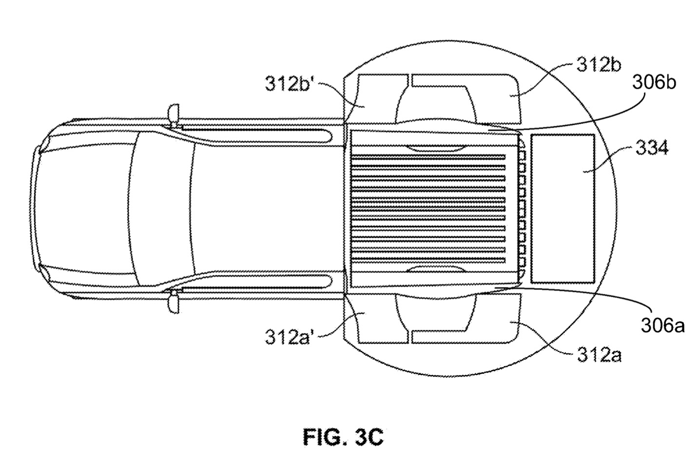
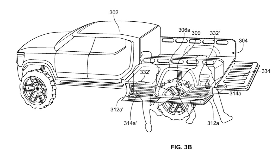
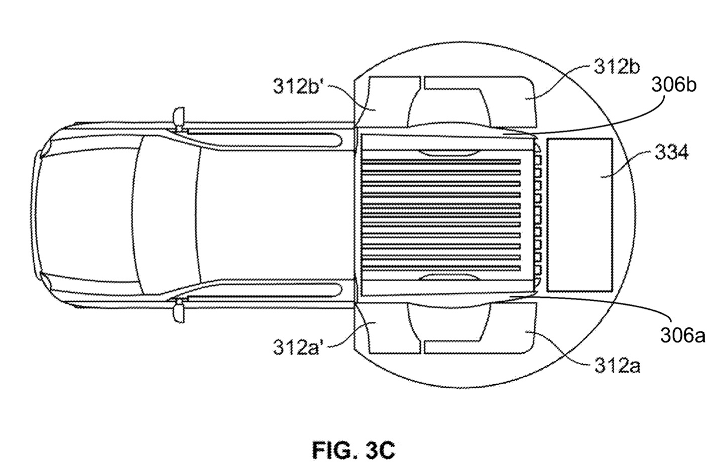
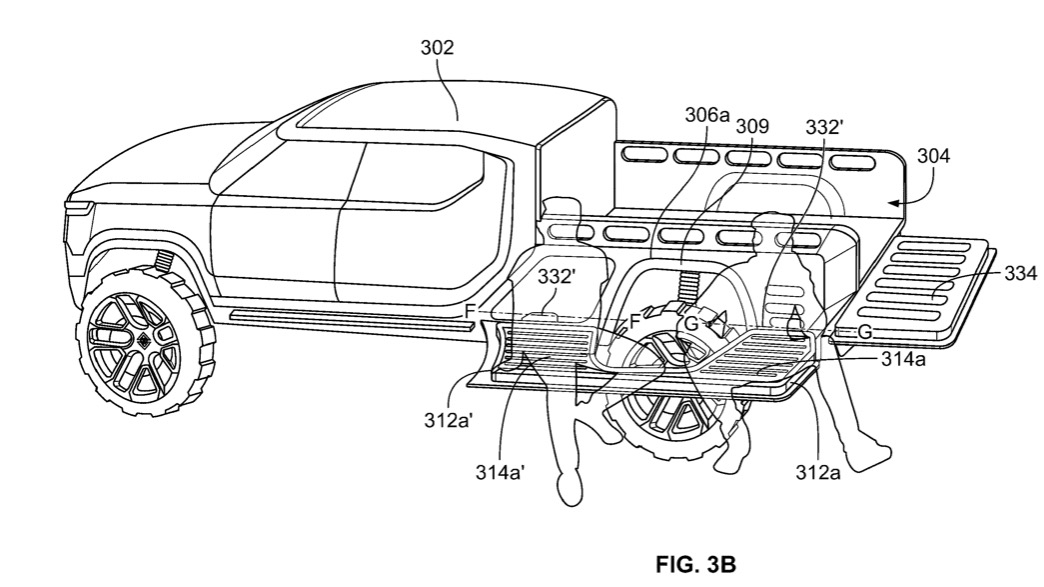
The in-bed storage system is similar to the Ram Box system offered on Ram trucks for several years, and expected to be included on the RAM 1500 REV, but Rivian’s system is more elaborate. The patent application shows the entire outside bed panels folding down, revealing multiple storage compartments, and cutouts on either side of the bed for longer items.
This in-bed storage system offers more than just storage, according to the patent application. The fold-out panels could be used as seating and a fold-out table could be included. There is also a power outlet available once the panels are opened, with the illustration showing a mobile phone being charged.
Rivian has previously filed patent applications for other utility-enhancing designs, such as telescoping and folding tailgates and a tailgate step. It is unclear if the new storage system will be incorporated into the current R1T or next-generation vehicles based on the company’s R2 platform, which is expected to launch in 2026.
General Motors has also recently filed a trademark application for a Multistow tailgate, indicating that it is planning to incorporate some storage into the tailgate as well. Ram, on the other hand, seems content with its Ram Boxes, which were shown in an unchanged form on the Ram 1500 REV at the 2023 New York Auto Show.
Always get the latest - make Drive Tesla your preferred source on Google
Are you buying a Tesla? If you enjoy our content and we helped in your decision, use our referral link to get three months of Full Self-Driving (FSD).









