American automaker Rivian has filed a new patent for an innovative way to provide more range to its R1T electric pickup truck.
The patent, filed yesterday November 10, 2020 with the United States Patent and Trademark Office (USPTO) describes a battery pack that can be detached and charged separately from the main pack.
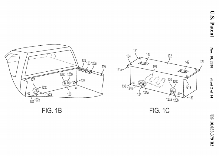
According to the details of Patent No.: US 10,833,379 B2, an auxiliary battery pack would be placed in the bed of the electric truck. To connect the battery, there would be a “first electrical connector” on auxiliary battery pack, and a second electrical connector on the EV itself.
Once connected, the second battery can provide power to the electric motor, thereby extending the range of the EV. The battery would also include an integrated cooling system to keep it at a safe temperature while in use.
When the auxiliary battery is dead, you would simply disconnect it and charge it separately from the main battery pack in the vehicle.
Depending on the size of the auxiliary battery, it could extend the range of the electric truck by 100 miles (160km) or more.
The application of a secondary battery is likely not necessary in every day driving. It would be a welcomed addition however for when you go off-roading or are towing a trailer, allowing you to travel further into the woods than you would otherwise be able to.
Related: Rivian shows off impressive R1T towing capacity in new video
Rivian today officially announced pricing for the R1T, and also included details of the different packages available. According to the information posted the automaker’s website, all three variants will come with a “300+ mile Large pack” (482km) as standard equipment.
You can read the full patent here.


