Tesla received a lot of flack for removing the turn signal and gear stalks from some of their cars. While the move was controversial, it looks like Volkswagen may soon be following in their footsteps as the German automaker has filed a patent indicating turn signals and other features will be moved to the steering wheel rim.
The patent, submitted to the German Patent and Trademark Office and reported by Car Buzz, contains a new steering wheel design spotting operating elements, including turn signals on the wheel rim’s inside. The new design uses physical, haptic, or a combination of the two, similar to another design filed by Ford some time ago.
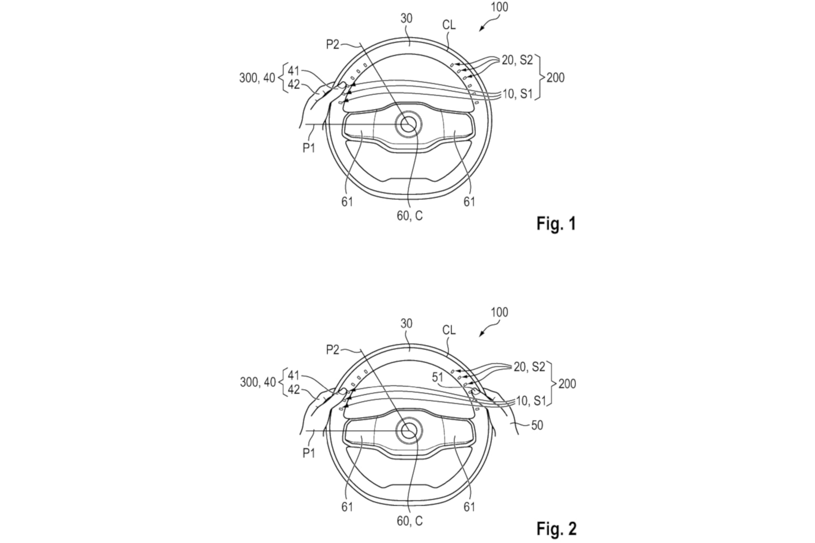
According to Volkswagen, the number of buttons on the steering wheel can vary based on the vehicle. For example, high-end models could get complete button layouts, while entry models would have fewer controls.
The patent goes on to describe how the system will work. Two groups of buttons will reside on either side of the steering wheel. The left side houses the primary controls, while the left hosts the secondary buttons. When one of the primary controls is activated, it illuminates the right side buttons and displays the available options, and the driver selects the appropriate one, including controlling the lights.
Other options include the infotainment system, which allows the driver to skip a song, among other functions. The system could combine multiple primary controls if each of them does not have enough functions.
Volkswagen claims the new system is safer, affords less cluttered steering designs, and saves manufacturing costs.
While Tesla has removed the stalks from the Model S and Model X, they may be making similar updates to its steering wheel on the Model 3 and Model Y.

