Bentley unveiled the concept EXP 100 GT during the company’s centenary celebrations in 2019 as a way to show how the automaker expects vehicles to be in 2035.
Now the automaker has filed an application to patent a retracting steering wheel system to be used for autonomous vehicles.
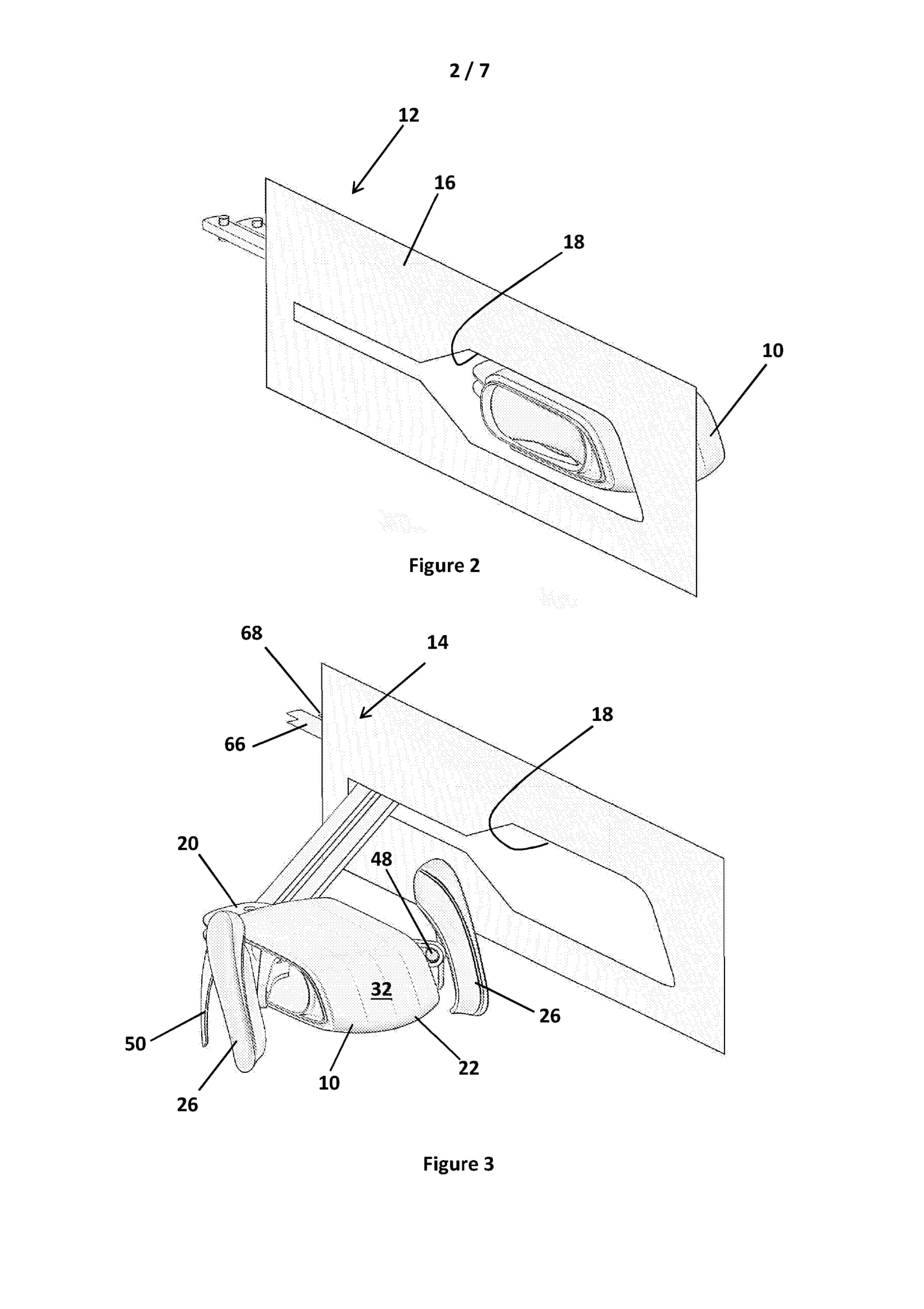
As described in the application, Bentley’s reasoning for the retractable steering wheel unit is that a conventional, fixed-in-place steering wheel takes up too much space, and would not allow for the reconfiguration of the vehicle while being driven autonomously.
“the provision of a steering wheel in the conventional position takes up a significant amount of room in the cabin and inhibits reconfiguration [of] the cabin when the vehicle is being operated in an autonomous mode.“
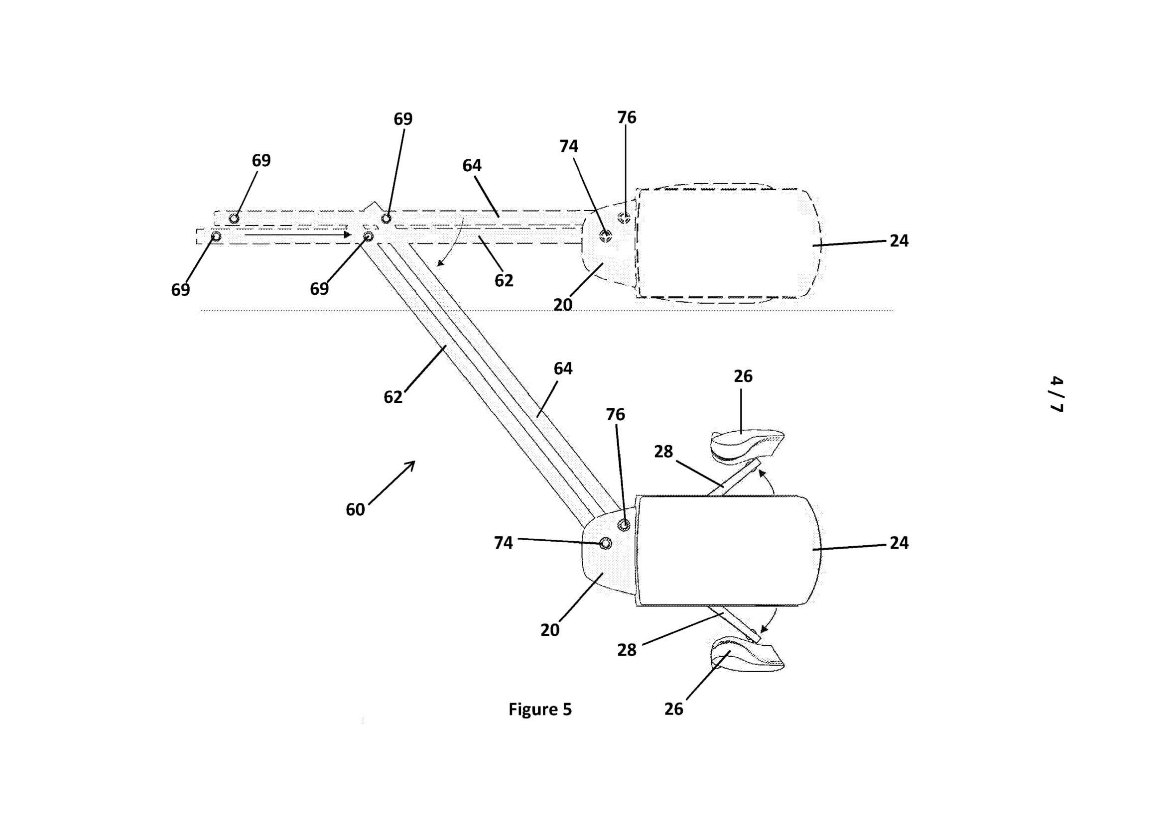
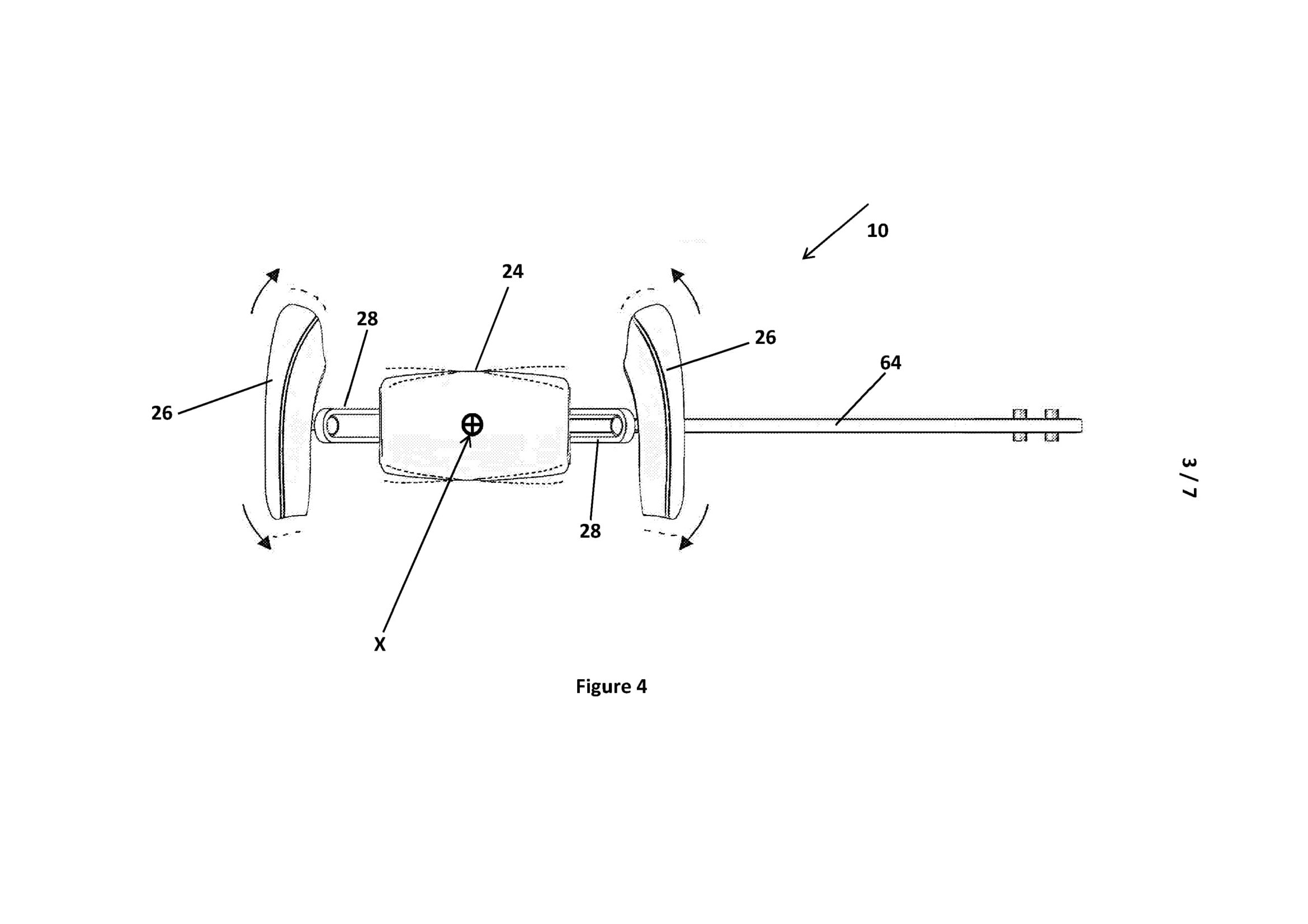
First reported on the Cybertruck Talk forums, the patent application also reveals the “steering control unit” would not only control the direction of the vehicle, but it could also include grips with triggers that could control the acceleration and braking.
Bentley isn’t the first automaker to patent a foldable steering wheel for autonomous driving. Earlier this year, BMW did something similar. Instead of the steering wheel folding into the door, it would change from a circular shape to an oval-type shape.
You can read the full patent application at the Cybertruck Talk forums. Some of the images in the application are included below.

