Tesla may be giving an early glimpse at the future of its steer-by-wire technology, with a newly published patent pointing to a major leap in steering precision—one that could be headed for the next-generation Roadster.
Published on March 19, 2026, the U.S. patent application titled “Multi-turn steering feedback actuator” outlines a system designed to significantly increase steering wheel travel while maintaining the compact packaging required for steer-by-wire setups.
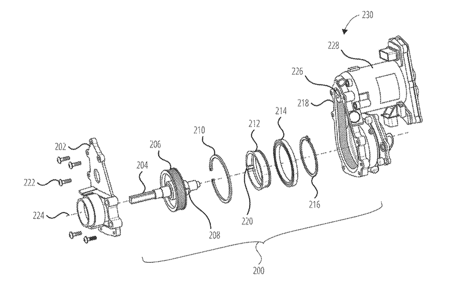
The innovation that Tesla wants to patent focuses on a redesigned steering column assembly that replaces traditional hard stops with a more advanced, multi-stage mechanism.

In most current steer-by-wire systems, steering input is typically limited to around ±170 degrees from center. That restriction is largely due to mechanical stop designs meant to protect internal components and prevent over-rotation. While that setup works for conventional steering wheels, it becomes a limitation for vehicles using a yoke, where reduced rotation can feel unnatural—especially during tight, low-speed maneuvers.
Tesla’s solution describes a system that introduces a rotating member—sometimes referred to as a stop ring—working in conjunction with both a shaft stop and a housing stop. This two-stage configuration allows the steering input to extend well beyond traditional limits, reaching up to approximately ±340 degrees depending on how it is tuned.
In effect, that nearly doubles the available steering range without requiring a physical connection between the steering input and the wheels.

Rather than relying on a single rigid endpoint, the system transitions through multiple contact points. After an initial stop is reached, the mechanism continues rotating as a combined assembly until a secondary stop engages, creating a staged and controlled limit to movement. The result is a broader range of motion paired with precise control over how and when steering resistance is applied.
Along with steering precision, Tesla is also focused on steering feel. The patent outlines the use of damping elements—such as O-rings—at key contact points to soften the engagement between stops. This approach could eliminate the harsh “end stop” sensation found in some systems today, delivering a smoother, more refined driving experience.

Just as important, the system is designed to integrate with a feedback actuator capable of delivering variable torque through a belt-driven or gear-based setup. That means Tesla can dynamically adjust steering resistance based on speed or driving conditions, simulating traditional road feel entirely through software.
All of this points to a potential real-world application that could arrive sooner than expected. Tesla CEO said recently the next-generation Roadster will hopefully be unveiled next month, and previously hinted at advanced steer-by-wire controls paired with a yoke. A system like this would allow Tesla to implement an ultra-quick steering ratio—similar to what you might find in Formula 1—without sacrificing usability at lower speeds.
By combining extended steering range with software-controlled feedback, the company could deliver both razor-sharp handling and everyday drivability—two goals that have traditionally been difficult to achieve at the same time.
While it remains to be seen whether this exact system will debut on the Roadster, the timing of the March 19 publication suggests Tesla’s next-generation steering technology may be closer to production than many expected.
