Legacy automakers are playing catch-up to Tesla’s big lead when it comes to battery cells and battery pack technology. According to Tesla’s Q1 2020 earnings report, the current mileage gap between Tesla’s flagship Model S and the next leading competitor when it comes to range is 132 mile (212km).
Tesla’s latest patent application, which was filed in November 2019 but published yesterday, shows that Tesla is not easing off the accelerator and continuing to push the boundaries of battery technology that has given them that lead.
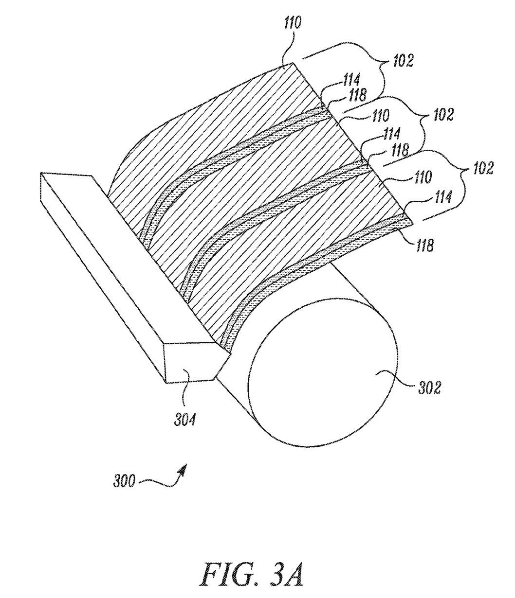
The new patent is called ‘Cell with a Tabless Electrode’ and describes a new way to build cells, as explained in the patent abstract.
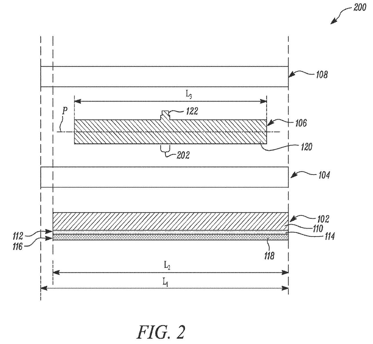
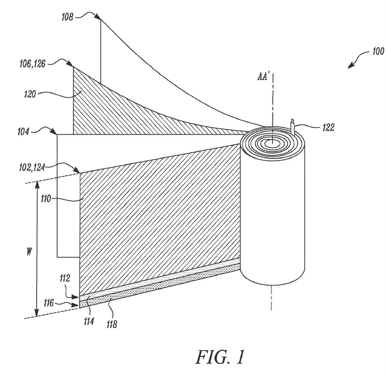
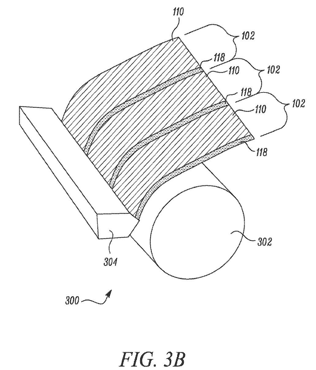
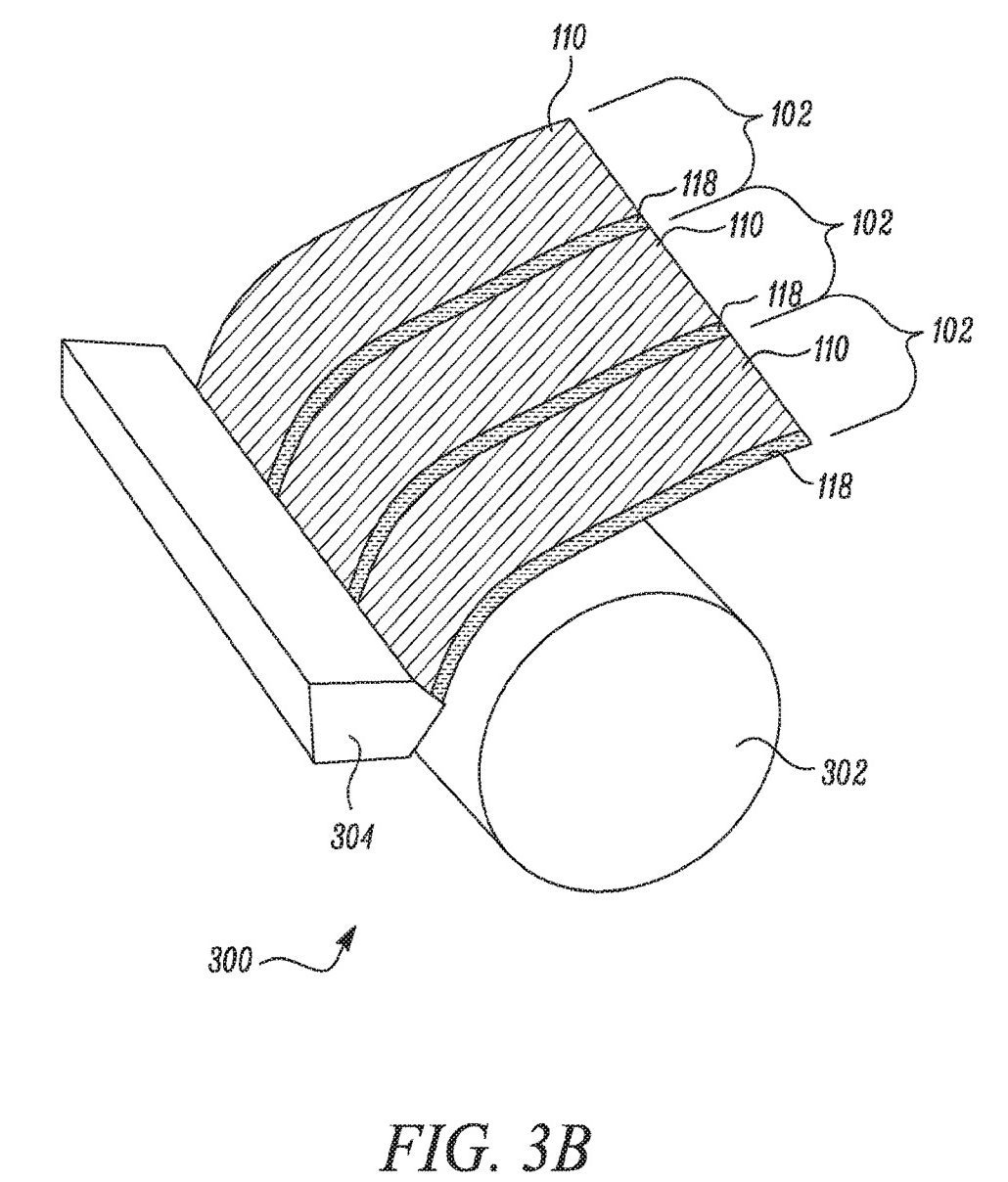
“A cell of an energy storage device with at least one electrode that is tabless, and methods of forming thereof, are described. The cell includes a first substrate having a first coating disposed thereon, wherein a second portion of the first substrate at a proximal end along the width of the first substrate comprises a conductive material. An inner separator is disposed over the first substrate. A second substrate is disposed over the inner separator. The second substrate has a second coating disposed thereon. The first substrate, the inner separator, and the second substrate in a successive manner, the first substrate, the inner separator, and the second substrate are rolled about a central axis.”
If you can read the patent application and have a full understanding of what they’re actually doing, you get an A+. For the rest of you who’s eyes glazed over reading through the first short abstract of the patent, all you need to know is Elon Musk said this is more important than it sounds.
Way more important than it sounds
— Elon Musk (@elonmusk) May 7, 2020
The patent futher explains it this way, which is a little easier to understand:
“Many types of battery cells are currently used as energy sources in electric vehicles and energy-storage applications. Current cells use a jelly-roll design in which the cathode, anode, and separators are rolled together and have a cathode tab and an anode tab to connect to the positive and negative terminals of the cell can. The path of the current necessarily travels through these tabs to connectors on the outside of the battery cell. However, ohmic resistance is increased with distance when current must travel all the way along the cathode or anode to the tab and out of the cell. Furthermore, because the tabs are additional components, they increase costs and present manufacturing challenges.“
Here are a few images from the patent application, which you can read in full here.
h/t [Tesmanian]


