Rivian has filed a patent application for the camp kitchen feature on its R1S SUV, meaning you may soon be able get into the cooking spirit wherever you drive in your electric SUV.
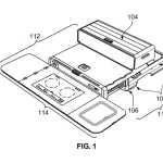
The EV startup applied for the patent on July 18 and received the grant in about a month. The setup includes a countertop that can be expanded to reveal a cutting board, a cooktop, and presumably a bin. Rivian puts two compartments above for storage.
The different parts move in and out on rails.
According to the patent summary first shared on RivianForums, Rivian may offer several configurations in the finished product. For example, buyers might be able to add “water pump apparatus consisting of a water tank and hose. Imaginative R1S owners might use it for a quick shower after a sweaty hike out in nature.
However, Rivian fans might want to be cautiously optimistic as not all patents transform into finished products. Rivian started off with camp kitchens tucked inside the R1T’s gear tunnel but canceled the feature in 2022. Polls suggested the demand for the feature was low, which might have been responsible for the cancellation.
Rivian, however, is shifting more of its production to the R1S SUV from the pickup truck R1T, with more of the former rolling off the production lines.
Editor’s note: A previous version of this article stated Rivian was awarded the patent. This has been corrected.
Always get the latest - make Drive Tesla your preferred source on Google
Are you buying a Tesla? If you enjoy our content and we helped in your decision, use our referral link to get three months of Full Self-Driving (FSD).




