Companies frequently file patent applications for product ideas that never make it to market. One of Ford’s latest patent applications may fall into that category, as the automaker is attempting to patent the idea of mounting a backup battery to the roof an electric vehicle (EV).
According to the patent application (US 2023/0173902) uncovered by a member of the LightningOwners forum, Ford says EV owners may be reluctant to drive to areas that are lacking charging stations, in particular “off-roading vehicles utilized for off-roading.” The Detroit-based automaker thinks a supplemental EV battery that can be mounted to the roof of your off-roading EV is the answer to your range anxiety.
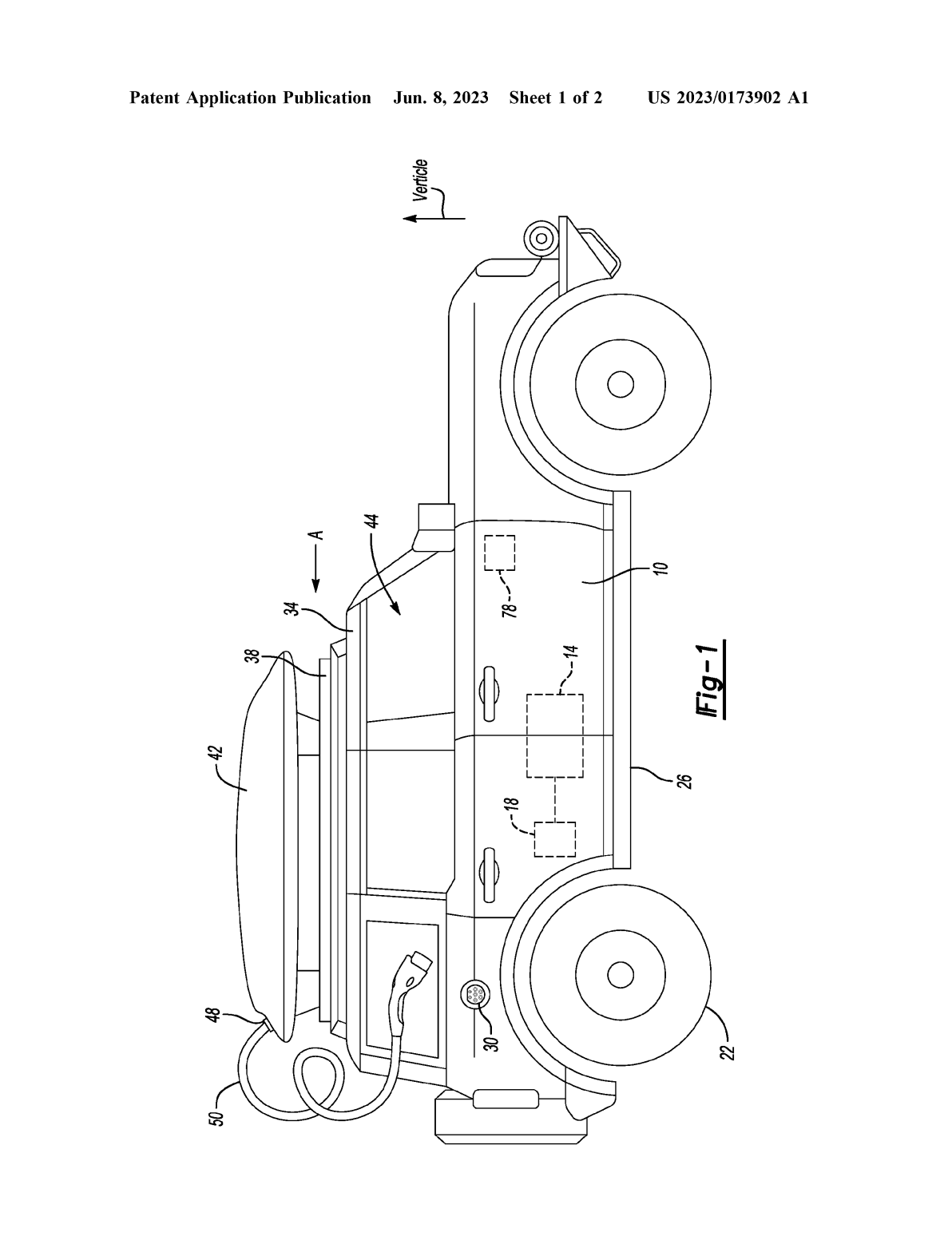
Without disclosing how big this extra battery might be, Ford explains in the application their example is shaped like a traditional roof-mounted cargo box. This allows it to sit on the conventional roof racks, giving it a small gap between the battery and the roof of the vehicle and allowing air to pass through and keep the battery cool.
Once you have reached your location, “such as a campsite,” the EV owner would take the included charging cord from the backup battery and plug it in and charge the EVs main battery. Ford goes on to explain the backup battery, while mounted to the roof in the application, could “mount to other areas of the electrified vehicle,” without providing other examples.
While at first glance it might sounds like a great idea to carry around an extra battery pack to charge your EV, there are a lot of potential issues with such an application. One is the weight of the battery pack and how you would actually get it onto the roof of your EV without special equipment. Then there’s the matter of the roof of the EV being able to withstand the weight of a whole battery pack.
Once you are able to get it on the roof, another problem arises that takes away from one of the biggest safety features of having a heavy battery pack underneath your car – a low center of gravity. Having all that extra weight at the very top of your EV will make it much less stable, something especially important to consider when off-roading as the application suggests as one of the main use cases.
What do you think of this patent idea? Let us know in the comments below.
Always get the latest - make Drive Tesla your preferred source on Google
Are you buying a Tesla? If you enjoy our content and we helped in your decision, use our referral link to get three months of Full Self-Driving (FSD).





